首先了解什么是fork?
上面的话通俗理解就是: fork是复制进程的函数,程序一开始就会产生一个进程,当这个进程(代码)执行到fork()时,fork就会复制一份原来的进程即就是创建一个新进程,我们称子进程,而原来的进程我们称为父进程,此时父子进程是共存的,他们一起向下执行代码。
注意的一点:就是调用fork函数之后,一定是两个进程同时执行fork函数之后的代码,而之前的代码以及由父进程执行完毕。
fork的特点:
首先明白linux中:
PID表示的进程号,是唯一的,一个PID只标识一个进程
PCB:进程控制块,进程控制块是用一个结构体struct task_struct来实现

fork的返回值问题:
在父进程中,fork返回新创建子进程的进程ID;
在子进程中,fork返回0;
如果出现错误,fork返回一个负值;
getppid():得到一个进程的父进程的PID;
getpid():得到当前进程的PID;
*注意:在fork函数执行完毕后,如果创建新进程成功,则出现两个进程,一个是子进程,一个是父进程。在子进程中,fork函数返回0,在父进程中,fork返回新创建子进程的进程ID。我们可以通过fork返回的值来判断当前进程是子进程还是父进程。
fork是把已有的进程复制一份,当然把PCB也复制了一份,然后申请一个PID
子进程的PID=父进程的PID+1;

下面我们举一个简单的例子:
第一次看的时候非常的奇怪,一个函数返回两次?是的,在调用fork后,fork函数后面的所有代码会执行两遍。
结果如下:
两个判断的代码都执行了,这是非常不可思议的,但fork函数确实实现了这样的功能。也就是在fork函数后面的代码都会执行2遍。 这就是为什么两个判断都会被执行的原因。
现在来梳理一下成功fork的执行流程
第一步: pid=fork(),如果成功那么pid就有一个非0正值。否则返回-1。
第二步: 因为pid>0,所以进入判断3。这是在父进程。
第三步: 父进程的代码执行完了,程序又会把fork后面的函数再执行一遍,此时pid的值变为0,所以进入判断2。
*注意:这里的pid_t类似一个类型,就像int型一样,int型定义的变量都是整型的,pid_t定义的类型都是进程号类型。这个语句的意思是定义了一个pid_t类型的变量pid,fork()函数返回一个进程号,这个进程号赋给了pid。pid_t在头文件types.h(sys/types.h)中定义
pid_t就是一个short类型变量,实际表示的是内核中的进程表的索引
试试判断下面代码:

父子进程的调用流程:
下面我们讲解一下fork调用的细节
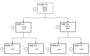
上述代码打印了4次love,创建了4个进程(1一个父进程,3个子进程)

假设我们的main进程pid是1001,注意看左边的1,2,4进程其实都是main进程1001。进程3,6是同一个进程1002。所有一共有1001,1002,1003,1004四个进程。也就是只要数叶子节点就行了。其中1个是main进程,其它3个是子进程。有多少个进程就输出多少次hello字符串。也就是只有4,5,6,7执行了printf。
如果明白了上面的过程下面我给出四个例子和解释,可以自己先试着判断
eg1:
eg2:
eg3:
结果打印3个A,共创建3个进程
fork()给子进程返回一个零值,而给父进程返回一个非零值
在main这个主进程中,首先执行 fork() || fork(), 左边的fork()返回一个非零值,根据||的短路原则,前面的表达式为真时,后面的表达式不执行,故包含main的这个主进程创建了一个子进程,
由于子进程会复制父进程,而且子进程会根据其返回值继续执行,就是说,在子进程中, fork() ||fork()这条语句 左边表达式的返回值是0, 所以||右边的表达式要执行,这时在子进程中又创建了一个进程,
即main进程->子进程->子进程,一共创建了3个进程。
![]()
eg4:
结果输出3个A,创建3个进程
父子进程相同:
- 刚刚fork后,data段,text段,堆,栈,环境变量,全局变量,宿主目录位置,进程工作目录,信号处理方式
父子进程不同:
- 进程id,返回值,各自父进程,进程创建时间,闹钟,未决信号
父子进程共享:
- 文件描述符
- mmap映射区
- 读时共享,写时复制-----------------全局变量
对fork复制进程做了一个优化----写时拷贝技术。写时拷贝指的是两个任务可以同时自由读取内存,但任意一个任务试图对内存进行修改时,内存就会复制一份提供给修改方单独使用,以免影响到其他的任务使用。
特别的,fork之后父进程先执行还是子进程先执行不确定,取决于内核所使用的调度算法。
注意父进程多次fork后不加以控制,我们会发现打印结果不唯一,无序。是因为对于操作系统将代码交给cpu执行的时候产生的子进程相当于同时产生的,并发运行,他们站在同一起跑线上去争夺cpu,谁抢到了谁就去运行打印数据,这是与系统调度有关,想让他们有序,可以加入sleep函数让其休眠一下
看到这里相信对与fork就有了基本的了解,点赞收藏是对博主最大的支持!有任何问题欢迎评论区留言讨论!
往期回顾:Linux常用命令及操作演示(细节满满)
版权声明:
本文来源网络,所有图片文章版权属于原作者,如有侵权,联系删除。
本文网址:https://www.mushiming.com/mjsbk/2346.html


