(1)、应用背景
(2)、usb 简介
(3)、网卡 接口
(4)、usb 转net
(5)、usb 网卡驱动实现
(6)、usb 直连通信
----------author:midu
-----------------dateTime:
----------------------:
(1)、应用背景
许多项目在空间设计方面需要节省空间,可以考虑去掉网卡器件,预留usb 外接phy 转换芯片进行网络通信,或是直接usb 协议通信。
现在市面有很多基于usb 接口的链接器可以使用,比如外接usb wifi模块、usb 外接摄像头模组、usb 外接存储盘、外接USB 网络模块(厂家有某绿)等等,丰富了接口应用
(2)、usb 简介
2.1 什么事usb
直译就是通用串行总线。
2.2 usb 协议版本
- USB 1.0/1.1(low/full speed),传输速率最大为12Mbps
- USB 2.0(high speed),传输速率最大480Mbps
- USB 3.0(super speed),传输速率最大5Gbps
- Type A,即使我们电脑上的那种接口。
- Type B,不太常见,比较方正的T型接口,有的嵌入式开发板会用。
- Type C,现在开始流行起来了,最大的好处就是可以盲插,而不用区分正反。
- Micro/mini,手机上比较常见。
不管哪种接口,用的线都是4根,只是形状不同而已。
主设备之所以能区分不同的从设备,靠的就是描述符。 于是USB协议里就规定了各种不同的USB描述符。让我们先看一下USB协议里四大描述符之间的关系
设备描述(device description),配置描述符(configrue description),接口描述符(interface description),端点描述符(endpoint description)
2.5 usb 累class
class用来描述设备属于哪种设备,例如音频、键盘、U盘等。设备通过class来确认和加载相应的驱动。class分为device class 和interface class。具体的class值以及含义,参考define class。
- class 包含
-
- class
-
- subclass
-
- protocol
组合在一起,用来指出设备具体功能。
• USB总线上的情形是怎样的?
• 包是USB总线上数据传输的最小单位,不能被打断或干扰,否则会引发错误。若干个数据包组成一次事务传输,一次事务传输也不能打断,属于一次事务传输的几个包必须连续,不能跨帧完成。一次传输由一次到多次事务传输构成,可以跨帧完成。
USB包由五部分组成,即同步字段(SYNC)、包标识符字段(PID)、数据字段、循环冗余校验字段(CRC)和包结尾字段(EOP),包的基本格式如下图:

(3)、网卡 接口
如果是转网络,可选usb转网络芯片模块,如文末附图物件;
若是直接usb通信,就无须网络转接头,直接用两头公头连接,usb协议通信
(4)、usb 转net
https://blog.csdn.net/_/article/details/
(5)、usb 网卡驱动实现
5.1 usb 驱动框架
a .主要驱动架构

b. 主机驱动架构



c. 设备端驱动架构


设备控制器驱动

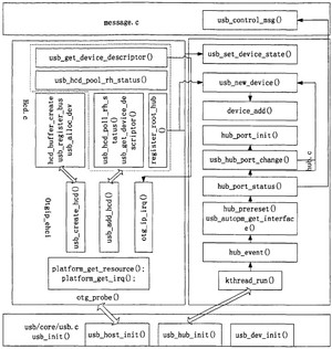
5.2 usb 初始化过程
USB驱动作为一个系统,集成了众多的驱动模块,注册过程非常复杂。从USB系统的角度来说,USB主机驱动主要包含:
1) USB核驱动
2) 主机控制器驱动
3) 集线器驱动
驱动的加载执行流程如下图所示:

a. USB Core的初始化
USB驱动从USB子系统的初始化开始,USB子系统的初始化在文件driver/usb/core/usb.c
subsys_initcall()是一个宏,可以理解为module_init()。由于此部分代码非常重要,开发者把它看作一个子系统,而不仅仅是一个模块。USB Core这个模块代表的不是某一个设备,而是所有USB设备赖以生存的模块。在Linux中,像这样一个类别的设备驱动被归结为一个子系统。subsys_initcall(usb_init)告诉我们,usb_init才是真正的初始化函数,而usb_exit将是整个USB子系统结束时的清理函数。
b. 主机控制器的初始化及驱动执行(以EHCI为例)
c.注册集线器
(6)、usb 直连通信

鸣谢:
https://wenku.baidu.com/view/54b8f334a200a6c30c22590102020740be1ecda8.html
USB协议架构及驱动架构
https://blog.csdn.net/songze_lee/article/details/ usb 协议简介
http://www.42xz.com/soft/3238.html#xzz usbblyzer 下载地址
https://blog.csdn.net/ZCShouCSDN/article/details/ USB 之三 常用抓包/协议分析工具(Bus Hound、USBlyzer、USBTrace、USB Monitor Pro等)
USB协议基本知识
http://bbs.ntpcb.com/read.php?tid-121943.html usb net pcb
https://www.lulian.cn/product/list-115-cn.html 绿联USB有线百兆网卡
https://www.asix.com.tw/cs/download.php?sub=driverdetail&PItemID=86 驱动代码,AX88772 驱动程序下载
https://blog.csdn.net/weixin_/article/details/
https://blog.csdn.net/u0/article/details/?utm_medium=distribute.pc_relevant.none-task-blog-BlogCommendFromMachineLearnPai2-1.nonecase&depth_1-utm_source=distribute.pc_relevant.none-task-blog-BlogCommendFromMachineLearnPai2-1.nonecase USB网卡 AX88772C 驱动交叉编译
https://www.asix.com.tw/FrootAttach/userguide/How_to_identify_Authentic_ASIX_USB-to-LAN_Products_v100.pdf usb 驱动详解
版权声明:
本文来源网络,所有图片文章版权属于原作者,如有侵权,联系删除。
本文网址:https://www.mushiming.com/mjsbk/893.html