W25Q64是一种常见的串行闪存存储器,由Winbond公司生产。它的容量为64兆比特(8兆字节),采用SPI接口进行通信。
W25Q64主要特点包括:
1.容量大:W25Q64具有64兆比特(8兆字节)的存储容量,可以存储大量数据。
2.串行接口:W25Q64使用SPI(Serial Peripheral Interface)接口进行通信,它由四条线组成:时钟线(SCK)、数据输入线(MOSI)、数据输出线(MISO)和片选线(CS)。支持SPI模式0和模式3。在SPI模式0中,数据在时钟的下降沿采样,在上升沿传输;而在SPI模式3中,数据在时钟的上升沿采样,在下降沿传输。这两种模式的时序图可以在W25Q64的数据手册中找到。
3.高速读写:W25Q64的串行闪存存储器支持高速读取和写入操作,可达到快速的数据传输速度。
4.扇区擦除:W25Q64的存储空间被划分为多个扇区,每个扇区大小为4KB。可以通过扇区擦除来更新存储的数据。
5.低功耗:W25Q64具有低功耗特性,在待机模式下能够降低功耗,延长电池寿命。

1.1 引脚说明

1.2 硬件连接
从上面的引脚说明,我们不需要使用WP引脚和HOLD引脚的功能,可以将它们直接连接到VCC电源引脚上。这样做可以确保这两个引脚保持在高电平状态,以便芯片正常工作。
连接WP和HOLD引脚到VCC上的好处是简化了连接和布线过程,节省了两个单片机IO口资源。

1.3 设备ID
W25Q64的芯片ID为0xEF4017。这个ID是由该芯片制造商Winbond公司指定的,用于标识该芯片型号的唯一性。
W25Q64的芯片ID是由3个字节组成,其中第1个字节为制造商ID,固定为0xEF,代表Winbond公司;第2个字节和第3个字节表示设备类型和密度,固定为0x40和0x17,分别代表64Mbit(8MB)的串行闪存存储器。因此,W25Q64的完整芯片ID为0xEF4017。
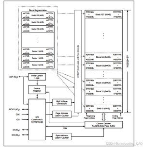
1.4 内部框架
存储结构:W25Q64通常以块(Block)、扇区(Sector)和页(Page)的形式组织存储数据。W25Q64一共有128块,每个块包含16个扇区,每个扇区包含16个页,每页最多256字节。
由此可知W25Q64容量的计算方式如下:
以1页/256字节,1扇区包含16页为基础,可以得到1扇区=16256Byte)=4096(Byte)=4KB;
又因1块包含16个扇区,可以得到1块=164096(Byte)=65536(Byte)=64KB;
最后总共128块,128*65536(Byte)=(Byte)=8MB,所以
W25Q64寻址空间:0x000000~0x7FFFFF。

1.5 指令集

1.5.1 指令集1

1.5.2 指令集2
2.1 W25Q64引脚定义代码如下(示例):
2.2 W25Q64初始化代码如下(示例):
当 CS 为高电平时,表示不选中该芯片,芯片将不会响应 SPI 总线上传来的数据。因此,为了确保在系统上电后不会意外触发芯片操作,一般会在初始化时将 CS 引脚设置为高电平状态。
2.3 W25Q64引脚配置代码如下(示例):
2.4 SPI读取数据代码如下(示例):
我这里SPI读数据是采用了SPI模式0的方式,在这种模式下,数据在时钟的下降沿进行采样,并且在时钟的上升沿进行传输,最后将数据保存到Outdata变量中。
SPI模式0是指在时钟空闲时,时钟线为低电平,在读取数据时,数据从MISO引脚上升沿进行采样,这是W25Q64芯片的SPI通信方式之一。
2.5 写使能/禁止写使能代码如下(示例):
在进行写入操作之前,需要先调用写使能命令来允许写入操作,写入完成后再调用禁止写使能命令来禁止写入操作。如果不调用禁止写使能命令,则W25Q64芯片仍然处于写入状态,可能会导致数据错误或者芯片损坏。
写使能/禁止写使能的时序图在规格书上有,这里就不贴出来了。
2.6 W25Q64 判断忙状态代码如下(示例):
该函数的作用是等待 W25Q64 芯片的忙状态结束。在进行一些与 Flash 写入相关的操作之前,需要检查 W25Q64 芯片是否处于忙状态,以确保写入操作的正确性。该函数使用 SPI 协议与 W25Q64 通信,读取状态寄存器中的信息,并检查其中的位 0 是否为 0。如果位 0 为 0,表示忙状态已经结束,函数退出;否则,继续等待。如果等待时间超过了设定的 Timeout 时间,函数将会输出错误信息并退出。
2.7 W25Q64 扇区/块/芯片擦除代码如下(示例):
2.7.1 W25Q64 扇区擦除
W25Q64 芯片的扇区大小为 4KB
2.7.2 W25Q64 块擦除
W25Q64 芯片的块大小为 64KB
2.7.3 W25Q64 芯片擦除
W25Q64 芯片的芯片大小为 8MB
这些擦除函数之间的不同在于擦除的范围。扇区擦除函数擦除的是单个扇区(4KB)的数据;块擦除函数擦除的是单个块(64KB)的数据;而芯片擦除函数则会擦除整个芯片(8MB)的数据。根据实际需要,选择适当的擦除函数进行操作。
注意,如果是选用芯片擦除函数,W25Q64_WaitForBusyStatus();函数中的等待时间uint16_t Timeout = 0xFFFF;需更改为uint32_t Timeout = 0xFFFFFFFF;
2.8 W25Q64页写操作代码如下(示例):
当使用 W25Q64 芯片进行页写操作时,需要考虑到写入字节数大于 256 字节和不大于 256 字节的两种情况。
如果小于等于 256 字节,直接进行一次写操作;如果大于 256 字节,则先写入前 256 字节的数据,然后循环写入剩余数据,同时需要在每次写入之前等待上次写操作完成。
2.9 W25Q64读数据代码如下(示例):
2.10 W25Q64读取设备ID代码如下(示例):
W25Q64的芯片ID为0xEF4017,用于标识该芯片型号的唯一性。
2.11 W25Q64测试代码如下(示例):
2.12 W25Q64测试结果:
我们可以在OLED显示屏看到W25Q64的ID为EF4017,测试写入和读出的数据是一样的。

总的来说,使用 W25Q64 需要熟悉其相关的指令集、通信协议和时序要求,合理地设计读写操作流程,并注意处理特殊情况,比如数据跨页写入时的处理等。感谢你的观看,谢谢!

版权声明:
本文来源网络,所有图片文章版权属于原作者,如有侵权,联系删除。
本文网址:https://www.mushiming.com/mjsbk/2943.html